Будьте всегда в курсе!
Узнавайте о скидках и акциях первым
Новости
Все новости
12 февраля 2026
KUCHENSTERN Обновление ассортимента 2025-26
Kuppersberg ICO 402 Индукционная поверхность
- Описание
- Отзывы
- Дополнительно
-
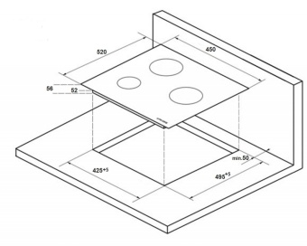
Описаниеповерхность варочная стеклокерамическая независимая индукционная, 45 см, черный, прямой край
Характеристики
Размер (Высота) 5,6 см Размер (Глубина) 52 см Размер (Ширина) 45 см Цвет черный Ширина прибора 45 см Переключатели сенсорные Управление сенсорное Таймер есть Защита от детей есть Мощность подключения, Вт 4600 Фурнитура нет Гарантийный срок (месяцы) 24 Страна производитель Китай Ссылка на сайт производителя https://kuppersberg.ru/products/ico_402/ Всего конфорок 3 Рабочая поверхность стеклокерамика Количество индукционных конфорок 3 Тип поверхности индукционная Встроенная вытяжка нет Расположение панели управления спереди Зона расширения нет Функция Booster есть Дизайн рамки без рамки Размер в упаковке (Высота) 11,3 см Размер в упаковке (Ширина) 53,5 см Размер в упаковке (Глубина) 56,8 см Вес прибора 7,565 кг Размер (Ширина), см 45 Размер (Высота), см (Общие) 5,6 Размер (Глубина), см 52 - Отзывы
-
Дополнительно
Дополнительная вкладка, для размещения информации о магазине, доставке или любого другого важного контента. Поможет вам ответить на интересующие покупателя вопросы и развеять его сомнения в покупке. Используйте её по своему усмотрению.
Вы можете убрать её или вернуть обратно, изменив одну галочку в настройках компонента. Очень удобно.






































